Đặc điểm nổi bật
- Điều khiển dễ dàng – Thao tác bằng một tay với các núm xoay trực quan
- Thiết kế trang nhã – để lắp đặt bằng phẳng hoặc bề mặt
- Có thể kết hợp hoàn hảo với bất kỳ phần tử SmartLine nào
- Phạm vi công suất lớn – đầu đốt kép với công suất lên đến 4500W
- Dễ dàng làm sạch – hỗ trợ chảo ComfortClean an toàn với máy rửa chén
Thông số kỹ thuật
- Chất liệu: Bề mặt bếp bằng kính đen, Kiềng bếp: Gang tráng men (Sử dụng được trong máy rửa bát)
- Tính năng an toàn: GasStop
- Số vùng nấu: 1
- Công suất vùng nấu: 4.5kW
- Điện áp: 220-240 V
- Tần số: 50 Hz
- Tổng tải kết nối: 7.1 KW
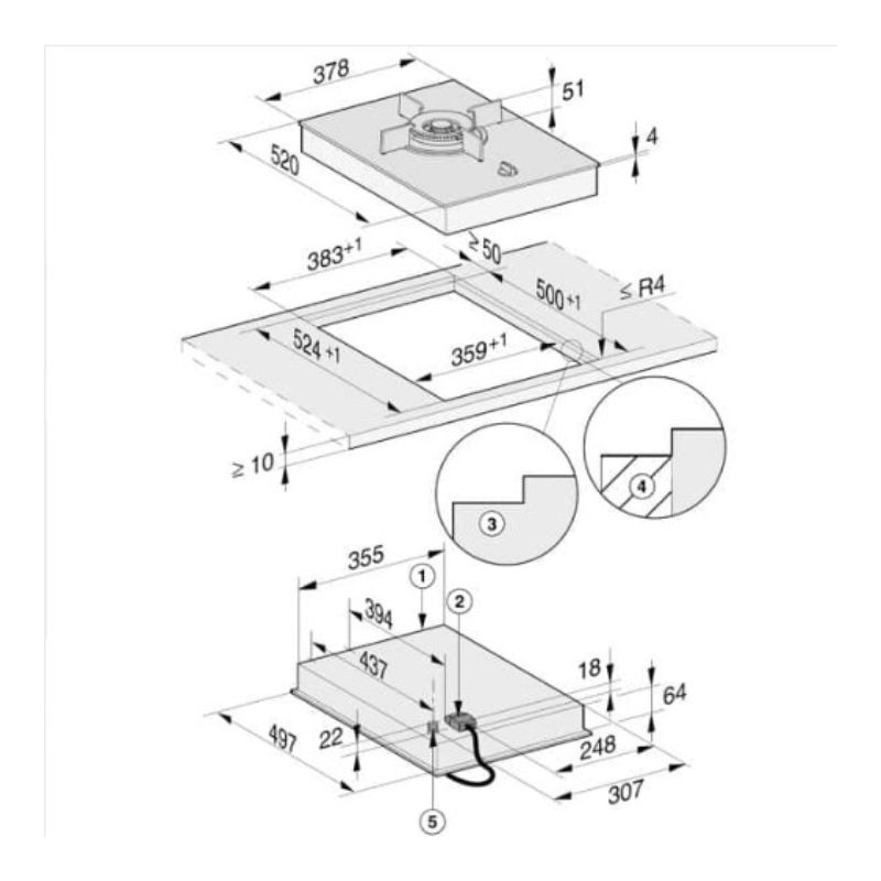
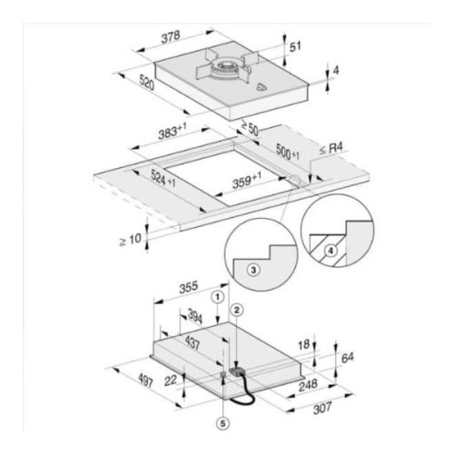
- Kích thước thiết bị (C x R x S): 92 x 378 x 520 mm
- Chiều cao lắp đặt với hộp kết nối: 90 mm
- Kích thước hốc (W x D): 359 x 500 mm
- Vị trí kết nối ống gas: Bên phải bếp
- Trọng lượng: 7 kg
- Chiều dài dây dẫn nguồn: 2 m








Đánh giá
Chưa có đánh giá nào.